Affiliate links on Android Authority may earn us a commission.Learn more.
Google may be thinking about putting Android in your eyeball
August 06, 2025
For those of you who A) think that Google is a bit too invasive already and B) suffer from “Eye Scream” squeamishness, this article is probably going to be a tough read. Apatentfiled in 2014 has just been made public that reveals that Google wants to create a device that would be installed literally inside your eyeball.
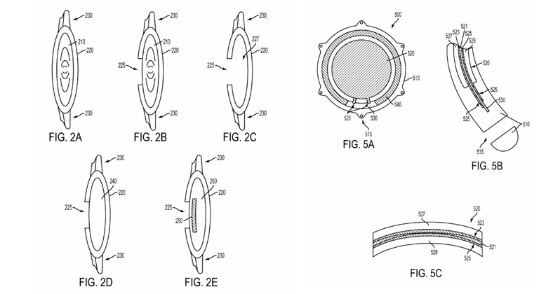
ForgetGoogle Glass, forget smart contacts. Google is going the whole nine yards with a “device [that] can be installed within a flexible polymeric material shaped to conform to the inside surface of a lens capsule of an eye.” For those of you wondering where exactly that situates the device inside your eyeball, time for a brief anatomy lesson.

The actual outer surface of your eye over your pupil is the cornea. That’s what your contact lenses ride on, and it serves to protect the eye and refract light. Beneath that is your iris and your pupil, and situated just beyond the pupil is the lens, which also serves to refract light but which can, unlike the cornea, change shape to adjust focus. The lens is enveloped in a thin layer of collagen called the lens capsule, and that’s where this device would ride.
The process of insertion might strike some as a bit graphic, as it does involve needles penetrating the cornea. A fluid is injected into the lens capsule to house the device, then the device itself is subsequently inserted and the fluid hardened. Google hopes that a device inserted this way will be able to display content to the user in-focus and would interact with other, less cyborg-esque devices like your smartphone. If you’re wondering about power, the device will collect energy using a “harvesting antenna,” but the details of that component are not presented in the patent.

Although the patent makes no mention of what operating system this “intra-ocular” device would run, since it’s a mobile device made by Google, we’re thinking Android isn’t a stretch. Many are reacting to this patent with squeamishness and derision, but we actually think it’s pretty damn cool. What about you? Is this a step too far in blurring the line between man and machine, or is it an inevitable step in our transcendence into god-like transhuman entities of pure energy? Let us know in the comments below!
Next:11 best augmented reality apps for Android

Thank you for being part of our community. Read ourComment Policybefore posting.
